异型材挤出机头设计
Date:2017-06-21 09:30:27
凡是具有其他断面形状的塑料挤出制品,统称为异型材。异型材制品有日常生活中常见的塑料门窗,百叶窗,冰箱及铝门窗封条,PVC风口百叶等,无锡嘉弘塑料科技有限公司生产有这些异型材产品的专用粒料,如图5-19。
一、板式机头
如图5-20所示,此种机头由模座4和口模板3组成。口模板能迅速更换,适用于小规格、小批量、多品种异型材生产.但型材也难以达到高的尺寸准确性。目前多用于软聚氯乙烯型材的小批量订货和粘度不高、热稳定性较好的聚烯烃类塑料。

图5-19 异型材种类

图5-20 板式机头
1-芯棒 2-口模 3-扣模板 4-模座
二、流线型机头
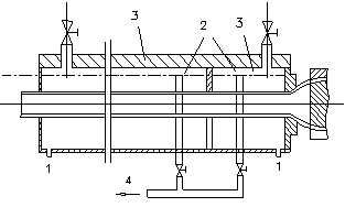
如图5-21所示,此种机头整个流道无任何“死点”,截面持续逐渐减小,流道表面光滑,直至成型区达恒截面。这样的机头流道,熔体无滞留点,且流速恒定增加,能获得最佳型材质量。但机头流道加工较困难,须经过特殊加工整体制成.
三、设计要点
1.口模与制品形状的关系 口模的截面形状与制品的截面形状并不一致,这是因为异型孔各壁面与尖角部的流速不相等,其尖角部分流出的流量小于其直边部分,所以口模的形状应在直壁部收缩。图5—22a所示为口模形状,图5—22b所示为塑件的形状。

图5-21流线型机头

图5-22 口模与制品形状的关系
a)模口截面形状 b)塑件截面形状
2.机头结构参数 分流器扩张角 对于成型条件要求严格的塑料如硬聚氯乙烯等应尽量控制在60 左右;机头压缩比 =3-13;压缩角 =25 -50 。
3.口模的尺寸设计 异型材的壁厚如不完全一致时,则厚的部位流量大、阻力小。当牵引的速度按厚的部位的速度进行时,则薄的部位就更薄。反之则厚的部位出现曲折波浪。这种现象可以通过改变口模定型段的长度来解决。然而这种设计数据与实际很难一致,必须经过试模后修正。
口模与实际制品尺寸的关系是随着物料种类、成型温度、成型速度及混炼状况等而变的,并无确定的规则。表5—19为模唇设计的经验数据。
表5—19 模唇设计的经验数据
材料 | 宽度 | 高度 | 成形段长高比(L/A) |
CA | 12%~20% | 10%~30% | 4:1 -16: 1 |
CAB | 10%~20% | 10%~20% | 4:1 -16: 1 |
EC | -10% | 20% | 5:1 |
PS | -12%~20% | -15%~13% | 6:1-24:1 |
PVC | -12% | 3% | 6:1 |
Actryloid | 10% | -5% | - |
EPC | 10% | 20% | 4:1-16:1 |
在挤出厚薄不一致的异型材时,要把厚的部分的定型段长度加长。表5—20为模唇的常用设计数据。
表7—2O模唇的常用设计数据
材料 | 宽度 | 高度 | 壁厚 | 定型段长度/mm |
一般塑料 | +20% | +35% | 厚度一致时+20% | 25-38 |
SPVC | +20% | +30% | 厚度一致时+12.5% 厚度不一致时+13.2% | |
HPVC | +1% | +1% | +1.1% | 13 |
PE | +10% | +15% | 0%(试模时修正) | - |
CA CAB PS | +20% | +20% | 0%(壁厚较大时-10%以上) | 25-38 |
异型材的尺寸和几何形状精度,除了机头设计合理外,还主要取决于定型模。异型材的定型方式有很多种,本章主要介绍多板式定型、加压定型和真空定型三种结构形式。
1.多板式定型 如图5-23所示,多板式定型是最简单的一种形式,将多块厚度为3-5mm的黄铜板或铝板,以逐渐加大的间隔放置在水槽中。板的中央开出逐渐减小的成形形状的孔。使从口模挤出的型材穿过定型板,边冷却边定型。考虑到冷却后的异型材还会收缩,所以最后一块定型板的形孔要比型材成型后的尺寸放大2% -3%.

图5—23 多板式定型
1-芯棒 2-口模 3-型材 4-定型板
2.加压定型 亦称压缩空气外定型,通常仅适用于当量直径大于25mm以上的中空异型材。如图5-24所示,定型模5与挤出型材7之间的接触,靠空气压力(0.02-0.1MPa)。压缩空气由机头芯模1导人型材7内,并用浮塞9封闭。采用此种定型方法时, 由于定型模与管材的接触面长,而且管内有一定的压力,所以成形的型材外表面尺寸精度较高而且表面粗糙度值较低。

图5—24 加压定型
1-芯模 2-压缩空气入口 3-机头体 4-绝热垫 5-定型模
6-冷却水 7-型材 8-链索 9-浮塞 10-水出口 11-水入口
3.真空定型 亦称真空外定型。如图5-25所示,型材与定型模间的紧密接触,是靠给定型模周围壁上的细孔或缝口抽真空来达到。在型材内无浮塞,只需维持大气压力即可。对于闭式空心型材,通常串联几个定型装置,例如窗用异型材的定型装置就分3段,每段约长400-500mm。当型材引入第1段中, 由于受到拉挤压力而发生塑性变形,并沿模壁贴合形成与定型模截面相一致的型材外形。若想在型材上形成沟槽、突缘或凸起,可留在定型模的后一段进行, 以减少卡塞的危险。

图5-25 真空定型
1-冷却水入口 2-冷却水出口 3-真空 4-至真空泵
4.参数的确定
(1)定型模长度 实践表明,当异型材壁厚达2.5-3.5mm范围时,定型模总长度在1600-2600mm,这将给加工带来极大困难。为此,常将定型模分成多段制造,然后组装使用。其分段依据见表5—21。
表5—21 异型模定型模分段参考数据 (mm)
异型材截面尺寸壁厚 | 定型模总长度 | 可分段数 | |
壁厚 | 高X宽 | 500~1300 1200~2200 2000以上 | 1-2 2-3 3以上 |
1.5以下 1.5~3.0 3.0以上 | 40X200以下 80X300以下 80X300以下 |
(2)定型模型腔尺寸 由于异型材型坯在定型过程中,要经历冷却收缩和牵引拉长的变化,致使定型后的异型材的截面尺寸变小,故定型模径向尺寸必须适当放大。尺寸放大的唯一依据,是异型材定型收缩率,见表5—22
表5—22 异型材定型收缩率
塑料名称 | ABS | CA | PA610 | PA66 | PE | PP | RPVC | SPVC |
收缩率(%) | 1-2 | 1.5-2 | 1.5-2.5 | 1.5-2.5 | 4-6 | 3-5 | 0.8-1.3 | 3.5-5.5 |
无锡嘉弘塑料科技有限公司拥有近30年的PVC粒料的研发、造粒生产经验。专业技术服务团队可为客户提供一站式系统解决方案。如想了解更多关于产品的信息,欢迎登录我们的官网∶www.js-plastics.com,咨询在线客服或拨打热线。固话:0510-68755207 手机:15190220696,我们将竭诚为您服务。
(免责声明: 本站内收录的所有教程与资源均来自于互联网,其版权均归原作者及其网站所有,本站虽力求保存原有的版权信息,但由于诸多原因,可能导致无法确定其真实来源,请原作者原谅!如果您对本站教程与资源的归属存有异议,请立即通知小编,情况属实,我们会第一时间予以删除。)

聯繫電話
+86 510-68755233
聯繫電話:+86 13861842075/ +86 510-68755233
銷售部 :+86 13861842075/ +86 510-68755233